首页> 网络焦点>正文

126亿,90后减肥50斤搞出一个IPO

2022/3/4 15:09:01 来源:36氪

投资家网获悉,号称“全球最大在线健身平台”的Keep近日向港交所递交了招股书。相关数据显示,Keep注册用户数突破1亿、平均月活超4000万。

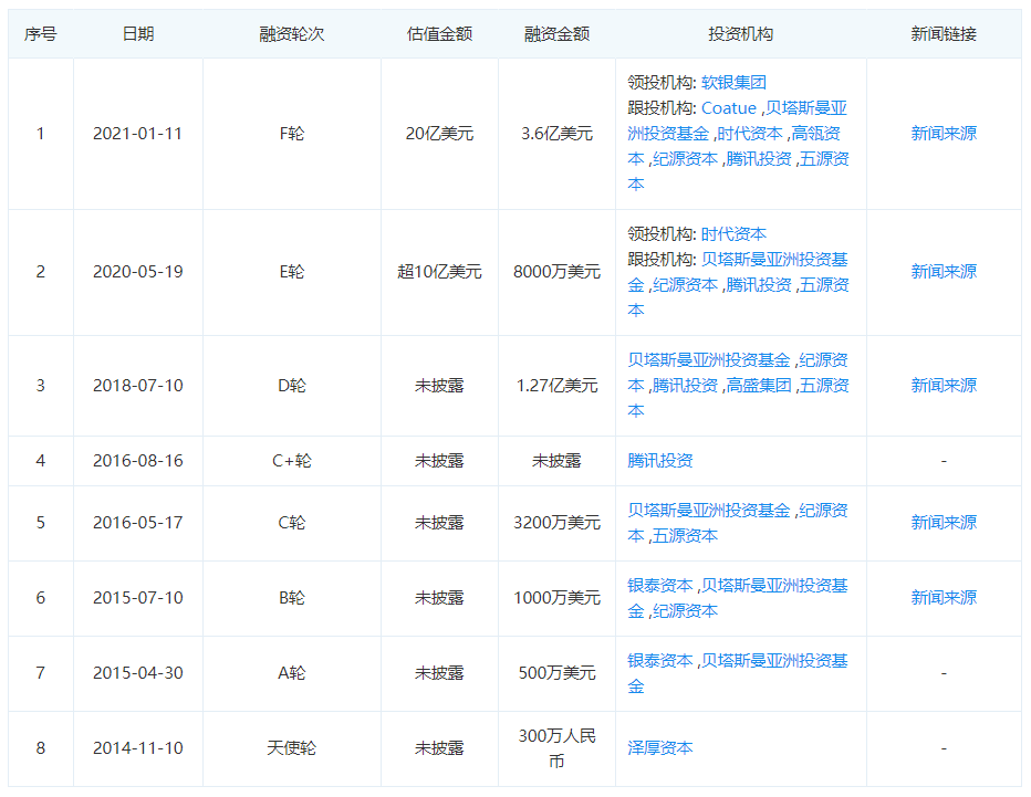
一个在线健身APP,7年时间完成了8轮融资,软银、腾讯、高瓴、GGV纪源资本、高盛入局,全球有头有脸的VC/PE赫然在列。资本疯狂追捧下,Keep在IPO前就收获了20亿美元(约126亿元人民币)估值。如若顺利,这家公司也将成为“在线健身第一股”。

谁能想到,独角兽Keep即将IPO背后,竟然是一个90后减肥50斤的故事。

在投资家网写过的众多80后、90后年轻一代创业把公司搞到独角兽、IPO的人群中,Keep创始人王宁算是比较“平凡”的一个,他不是名校毕业,没有海归背景。

这位1990年出生的年轻人,别看现在是个文质彬彬的瘦小伙,早年却是个缺乏运动的胖子。

缺乏运动或许跟他大学专业有关。在北京信息科技大学攻读计算机专业那几年,王宁每天与电脑为伍,当其他同学都外出约妹子的时候,王宁还在屋子里敲代码。

长期久坐让他养了一身肥膘。胖子的世界里,运动向来是一种“只存在于理想中的美好”。没有专业的训练与长期的规划,减肥犹如“空中楼阁”。

看着身边同学一个个约着妹子,仿佛学业、爱情双丰收。王宁坐不住了,大学即将迎来毕业那年,他决定狠下心来改变自己的未来,疯狂运动,拼命让自己瘦下来。

差不多用了3个多月时间,王宁成功减肥50斤,同学们都惊呆了。

同学们感到“离奇”的是,王宁减肥50斤靠的只是运动,而非绝食。

自从他瘦了下来,女同学抛来崇拜的眼神,男同学则想从他身上讨要“减肥窍门”。

那段过去不曾有过的“优越”经历,让王宁开始意识到,健身真的可以变成一门长久生意。

他突然萌生了创业的想法。

但健身本身,似乎又不是一次靠谱的创业。因为,关于该赛道里,参与者实在太多了,健身房就是最为常见的一类,此外,还有各种与减肥有关的运动、饮食、产品。

想在如此繁杂的赛道里,闯出一片天,简直比登天还难。更关键的是,成本很高,开设下线门店一点都不容易,需要有大量资金投入,还不一定就能做起来。

想到此处,王宁开始琢磨自己擅长什么,如何用到实处。

“我会敲代码。”

2014年,大学毕业的王宁,在电脑上敲出了一行改变人生命运的代码。

紧接着,他用校园时代给别人搞网站赚来的外快,在北京成立了一家名为卡路里科技的公司。

王宁想的很明白,最擅长的就是互联网,于是他决定打造一个线上健身平台。

由此,他加入到,刚大学毕业就去创业的90后大军。

不得不说,王宁选择创业的时间点很及时,正赶上国内“双创”大热之年。

如果用今天视角看,2014年,创业者但凡有个靠谱的BP都很容易从VC/PE手中拿走钱,那会的资本看到项目就跟“男女热恋”一样兴奋。虽然,有不少如O2O这样的“伪风口”兴起,可若把视角放回8年前,哪个项目不是资本的宝贝与心头好。

“双创”大热,给非名校非海归的王宁创造了与“高逼格”资本谈判的机会。

当然,资本可不是傻子,看到减肥市场呈现规模爆发趋势“很有钱景”后,小试牛刀掏出300万元天使投资给了王宁。拿着投资人的钱,他搞出了一个名叫Keep的APP。

中文译为“自由运动场”。

按着王宁给天使画的饼,Keep是个能覆盖所有人群的健身平台,“线下有限,线上无限。”

据说Keep刚上线一周,就吸引了很多年轻人关注,Keep内容很新潮且操作简单,想练哪个部位,都有对应的练法,跟线下枯燥乏味、多花钱的健身理念完全不同。

想想,不用跑健身房,在家就能有技术含量的减肥、健身事件多么开心的事,简直是肥宅福音。每天坐在屋子里的互联网从业者多是高收入的年轻人,王宁抓的便是这波增长。

2015年之后,Keep一下就在年轻人的健身圈子火了。

原因是,王宁把过去的贴吧、社区思维融入到小小的APP里,所有的用户都成了宣传Keep健身文化的一员,他们在社区里交流、探讨,分享减肥、健身过程中可能存在的痛点,把Keep变成了与QQ、微信类似的社交平台,里面可挖掘的价值与空间,放大到无数倍。

王宁从一个岌岌无名的普通创业者,摇身一变成了健身圈里的“名角”。

伴随而来的是,一轮轮的资本造富运动。

先想象一下,7年8轮融资是种什么样的体验?

即便是当今的硬科技创业者崛起的时代,他们在实验室里馒头苦干搞研发,也很难拿到如此多的融资轮次,或许越是简单易懂的生意,越能吸引别人送钱吧。

Keep面前,融资如洪水般,一发不可收拾。企查查显示,该公司2014年创业至2021年,共拿下8轮融资,资本方甚是豪华,包括:软银、腾讯、高瓴、GGV纪源资本、高盛、贝塔斯曼亚洲投资基金等,把估值提到20亿美元,掀起一波“线上健身风暴”。

与之对应的是,Keep用户端数据的暴涨:注册用户数从2015年的100万提升到2021年的超1亿,增长了100倍,平均月活超4000万。

左右资本,右手数据。

王宁在2018年对Keep的进行全方位商业化改造:一边,搭建Keep的自有品牌,推出智能健身设备、配套运动产品、食品,比如电子秤、跑步机等;一边,推出会员订制服务,只需要缴纳一定的会员费,就可以获取高阶或专项的健身项目、课程。

他把Keep商业化进程逐渐打造出闭环模式:有流量——吸引用户注册、拿到数据——社区活跃用户——用户想获取价值就要购买会员或产品——为B端供应商导流——B端与Keep合作——影响产业、资本——获取收益、流量——吸引用户注册、拿到数据。

这并不是什么新鲜模式,互联网巨头平台几乎全是这么干的,只不过领域形态各有不同。

商业闭环,想,谁都会想,关键问题是,有没有实现盈利。

招股书显示,2019年、2020年、2021年前9个月,Keep实现收入分别为6.63亿元、11.07亿元、11.59亿元,毛利率41.1%、45.1%、42.6%。营收增速放缓的Keep,一直在亏损,经调整后(未经审计)亏损净额分别为3.66亿元、1.06亿元、6.95亿元,共亏损11.67亿元。

虽然,Keep在招股书解释称,2019年、2020年、2021年前9个月亏损,是由于公司优先考虑战略路径制定及商业模式优化,而非立即实现收支平衡。

但需要注意的是,营销成本占据了Keep的主要支出。2019年、2020年、2021年前9个月,Keep相应开支分别为2.96亿元、3.02亿元、8.18亿元。

客观说明,Keep依然没有摆脱,平台模式的烧钱“魔咒”:烧钱——规模——烧钱。

平台模式的优势是:如果达到足够多的规模,主导市场,把用户购买行为变成刚需,就可以在未来的发展中实现盈利;劣势是:某一个环节出现瑕疵,都能让自身走向崩溃。

2019年左右,王宁曾尝试推出一些可能破局的新业务,也导致外界对keep的模式产生了质疑。破局失败后,keep迎来了一波大裁员,优化约10%-15%。

互联网行业裁员优化本不是什么问题。真正引发外界关注的是,一篇名为《Keep的困顿与终局》的文章,一个自称keep前员工的人认为,“Keep的核心矛盾在于业务增长瓶颈和变现渠道的模糊不清。”事后,王宁带领团队又做出了一些改变,试图突围亏损泥潭。

时间却不等人。

规模化的前景的上升空间,只能靠钱来完成,没有任何其它捷径。也就是说,只有源源不断获取融资,才可能覆盖规模化所遗留的疑难杂症。

如果钱不到位,遭遇的问题会越来越多,这就是平台模式永远无法逃避的劣势。

对于一家7年8轮融资、估值20亿美元的线上公司来说,上市成了唯一出路:一是,可以寻求新的融资,用新钱解决旧问题,慢慢做规模化覆盖;二是,可以转移风险。

至少,8轮融资的投资方、Keep持股管理层可以把风险转移给二级市场。当然,这只是公司发展中需要选择的一面,如果借助IPO让公司走向盈利,带来的就不是风险而是惊喜。

不管怎么样,只要公司一上市,王宁肯定是逆袭了,各路投资方手里再增一笔经典案例。

根据招股书披露,IPO前,Keep创始人团队持股23.21%,其中,王宁持股18.61%;投资方GGV纪源资本持股16.14%,为最大外部机构股东,软银持股10.39%。

若按Keep投后估值计算,公司上市,王宁至少能获得20多亿元的身价,90后富豪。

遥想王宁大学期间,还是一个平凡的胖子,靠毅力和锻炼技巧减肥50斤,激发创业热情,赶上“天时”,一路被资本追捧,不到10年间,逆袭为富豪,也算是一个“奇迹”了。

王宁有“奇迹”,一路亏损的Keep会有“奇迹”吗?

本文来自微信公众号“投资家”(ID:touzijias),作者:老高,36氪经授权发布。


该文章来源互联网,如有侵权请联系删除

热门推荐

  • 奇闻异事
  • 幽默搞笑
  • 八卦娱乐
  • 考古发现
  • 热点新闻
  • 大话社区
  • 图片报道
本站内容来自互联网,不提供任何保证,亦不承担任何法律责任.如有侵权请联系删除,QQ:888885555.
COPYRIGHT © 2014-2026 xiaoqiweb.com INC. ALL RIGHTS RESERVED. 版权所有 笑奇网粤ICP备97098206号